Minkähänlainen Truma kyseessä?
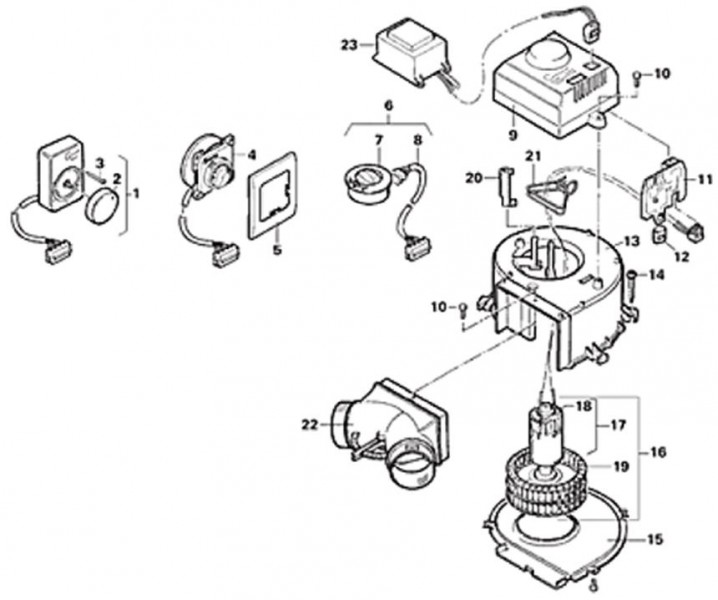
Kaminamalli 3002 tai 5002, eli päällepäin tämän näköinen (tai kantikkaampi)..

TEB puhaltimen ohjain, hiilet, säädin. Joku noista krenaa. Itse puhallin toimii itsenäisesti riippumatta lämmönsätimestä / onko lämmitin edes päällä..
Mutta, jos ei ole kuvan mukainen vaan Combi -mallinen, niin eri asia..
Kaminamalli 3002 tai 5002, eli päällepäin tämän näköinen (tai kantikkaampi)..

TEB puhaltimen ohjain, hiilet, säädin. Joku noista krenaa. Itse puhallin toimii itsenäisesti riippumatta lämmönsätimestä / onko lämmitin edes päällä..
Mutta, jos ei ole kuvan mukainen vaan Combi -mallinen, niin eri asia..


